天眼查經營風險信息顯示,近日,北京二鍋頭酒業股份有限公司因違反食品安全法相關規定,被北京經濟技術開發區管理委員會罰款10萬元。處罰事由顯示,該公司存在食品標簽未標注“固態法白酒”、未標注警示語、不符合執行標準要求等情形。
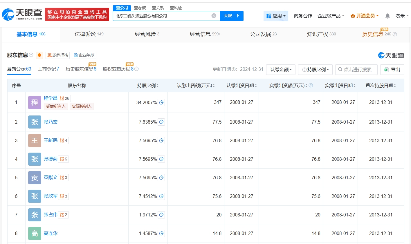
該公司成立于1992年5月,法定代表人為程學昌,注冊資本1014.6萬人民幣,經營范圍包括酒制品生產、酒類經營、飲料生產等,由程學昌、張乃宏、王新民等共同持股。



天眼查經營風險信息顯示,近日,北京二鍋頭酒業股份有限公司因違反食品安全法相關規定,被北京經濟技術開發區管理委員會罰款10萬元。處罰事由顯示,該公司存在食品標簽未標注“固態法白酒”、未標注警示語、不符合執行標準要求等情形。
該公司成立于1992年5月,法定代表人為程學昌,注冊資本1014.6萬人民幣,經營范圍包括酒制品生產、酒類經營、飲料生產等,由程學昌、張乃宏、王新民等共同持股。


