11月25日,華為舉辦新品發布會,正式發布了Mate 80系列手機。
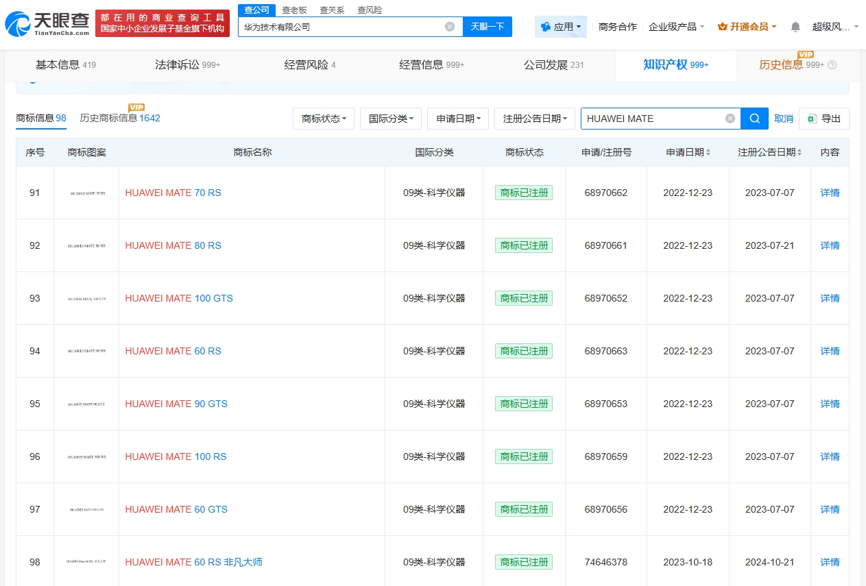
天眼查知識產權信息顯示,華為技術有限公司曾于2022年12月申請注冊“HUAWEI MATE 80 RS”“HUAWEI MATE 80 GTS”商標,國際分類為科學儀器,上述商標均已成功注冊。
此外,華為技術有限公司還于同時期申請注冊了“HUAWEI MATE 90 GTS”“HUAWEI MATE 90 RS”“HUAWEI MATE 100 GTS”“HUAWEI MATE 100 RS”商標,國際分類均為科學儀器,商標均為已注冊。






















