據報道,小米正式發布并開源新模型“MiMo-V2-Flash”,引發多方關注。根據官方體驗頁面信息,MiMo-V2-Flash還支持深度思考和聯網搜索功能,既能對話聊天,也能在需要實時數據、最新動態或資料核對的場景里派上用場。
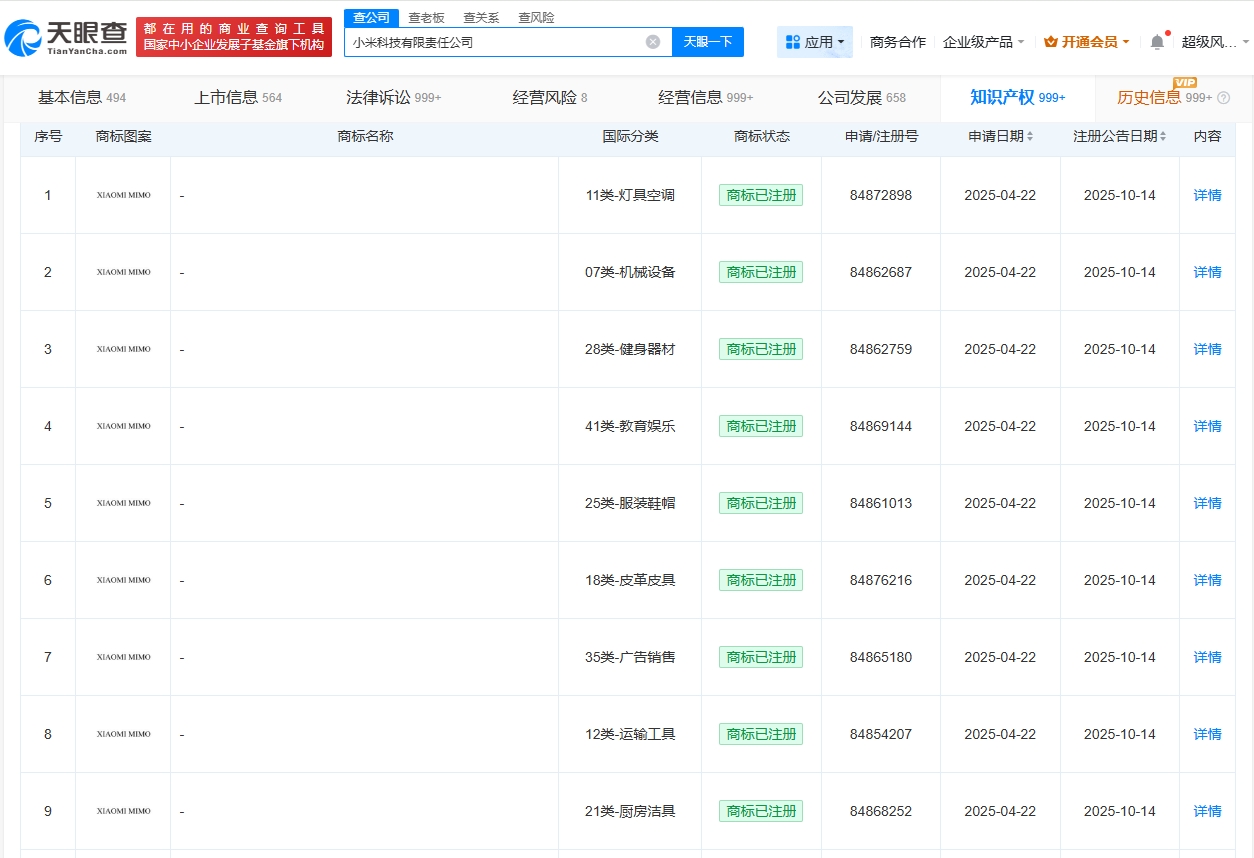
天眼查知識產權信息顯示,今年4月,小米科技有限責任公司曾申請注冊多枚“XIAOMI MIMO”商標,國際分類包括廣告銷售、科學儀器、運輸工具等,當前商標狀態均為已注冊。


據報道,小米正式發布并開源新模型“MiMo-V2-Flash”,引發多方關注。根據官方體驗頁面信息,MiMo-V2-Flash還支持深度思考和聯網搜索功能,既能對話聊天,也能在需要實時數據、最新動態或資料核對的場景里派上用場。
天眼查知識產權信息顯示,今年4月,小米科技有限責任公司曾申請注冊多枚“XIAOMI MIMO”商標,國際分類包括廣告銷售、科學儀器、運輸工具等,當前商標狀態均為已注冊。

