天眼查法律訴訟信息顯示,近日,伯喜(北京)文化傳媒有限公司及其法定代表人劉光耀新增一則消費令,涉及股東知情權糾紛案件,申請人為劉光耀前妻安吉,執行法院為北京市朝陽區人民法院。案件流程信息顯示,此前,該公司已因此案被執行470元。
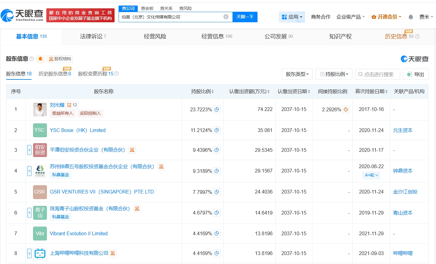
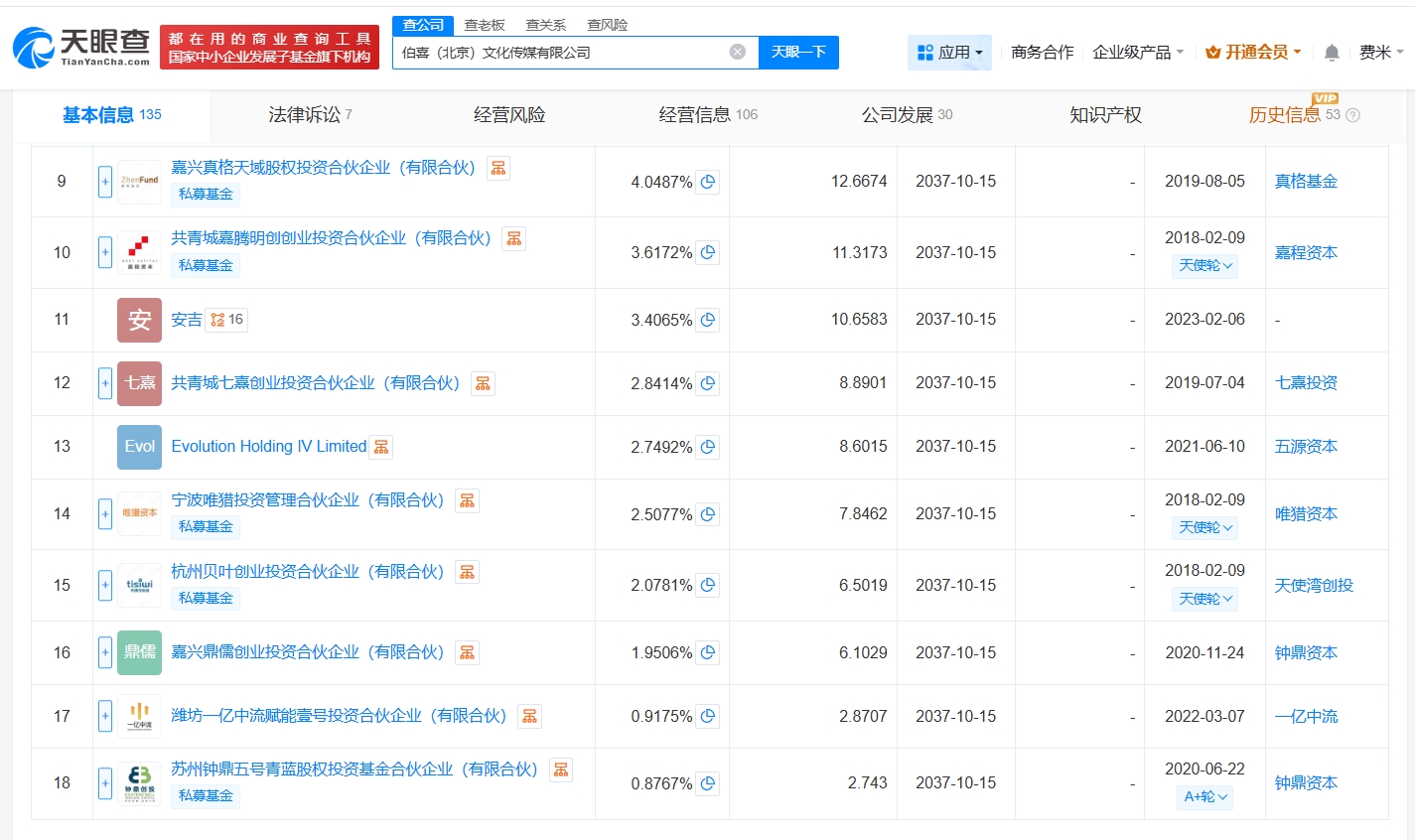
伯喜(北京)文化傳媒有限公司成立于2017年10月,注冊資本約313萬人民幣,經營范圍包括組織文化藝術交流活動、文藝創作、企業策劃等,由劉光耀、YSC Bosie(HK)Limited、安吉等共同持股,其中安吉持股比例約3.4%。
據媒體報道,去年8月,劉光耀發表長文回應與前妻結婚、離婚及關系崩裂的始末,并針對騙婚、債務等問題向前妻提出質疑,引起網友關注。
























