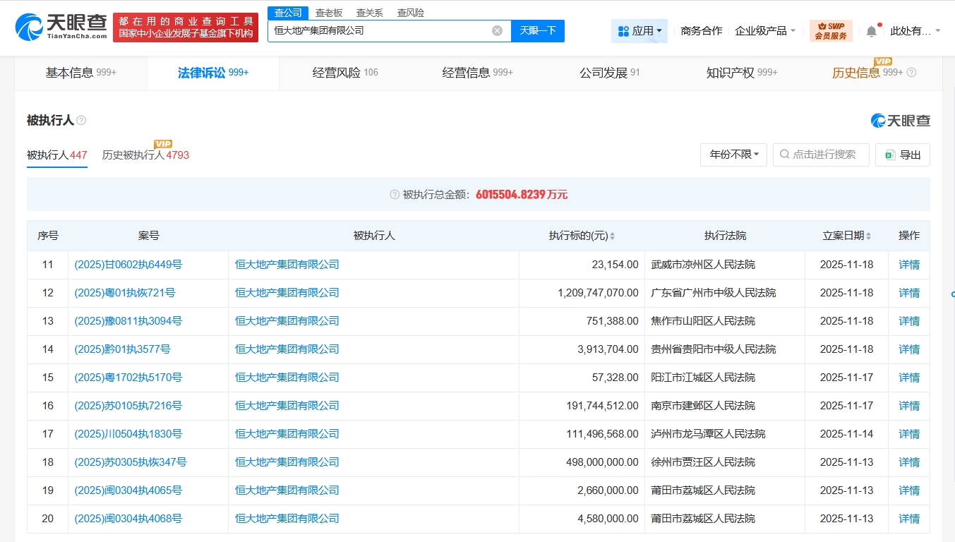
天眼查App顯示,11月18日至20日,恒大地產集團有限公司新增14條被執行人及恢復執行信息,執行標的合計12.2億余元,部分案件被執行人還包括浙江大衛房地產開發有限公司、上海豐濤置業有限公司等,執行法院包括廣東省廣州市中級人民法院、貴州省貴陽市中級人民法院等。
天眼風險信息顯示,恒大地產集團有限公司現存440余條被執行人信息,被執行總金額超601億元,此外,該公司還存在多條限制消費令、失信被執行人(老賴)及終本案件信息。


天眼查App顯示,11月18日至20日,恒大地產集團有限公司新增14條被執行人及恢復執行信息,執行標的合計12.2億余元,部分案件被執行人還包括浙江大衛房地產開發有限公司、上海豐濤置業有限公司等,執行法院包括廣東省廣州市中級人民法院、貴州省貴陽市中級人民法院等。
天眼風險信息顯示,恒大地產集團有限公司現存440余條被執行人信息,被執行總金額超601億元,此外,該公司還存在多條限制消費令、失信被執行人(老賴)及終本案件信息。

