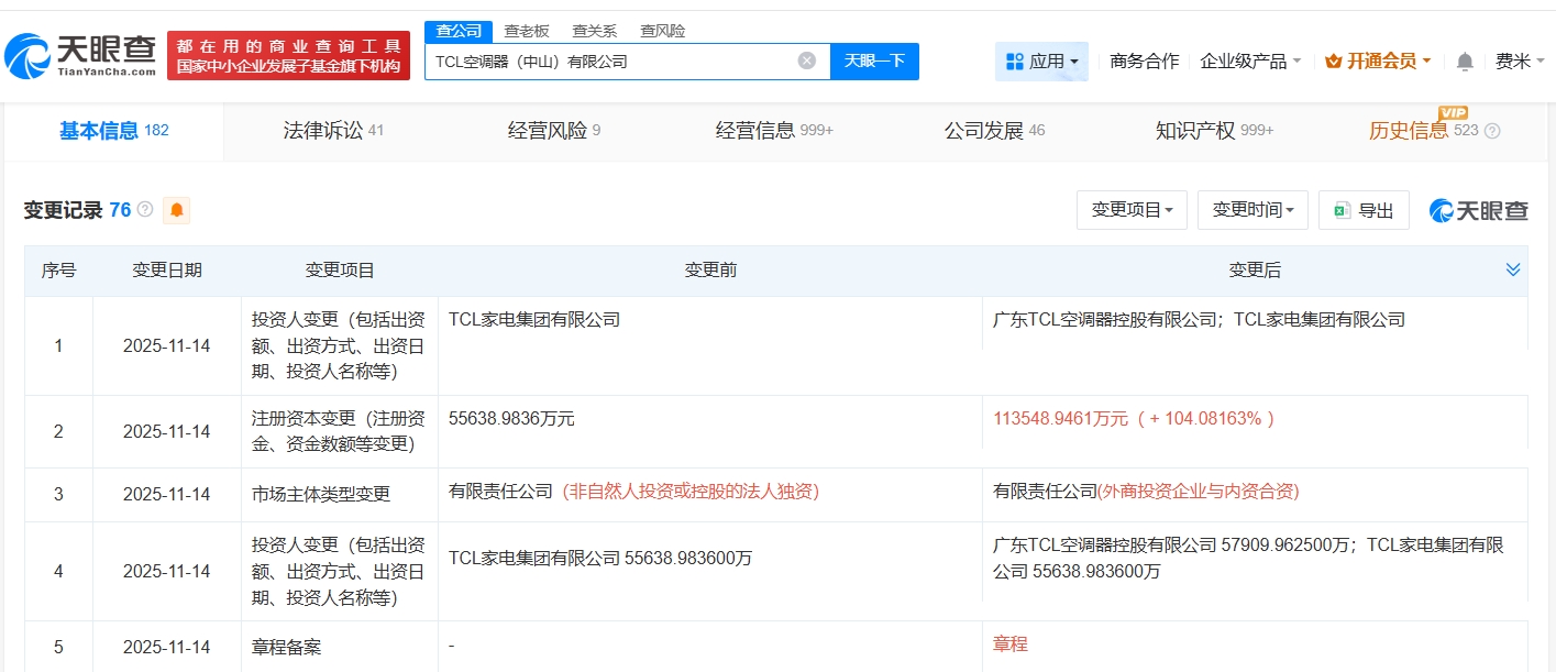
天眼查工商信息顯示,近日,TCL空調器(中山)有限公司發生工商變更,新增廣東TCL空調器控股有限公司為股東,同時,注冊資本由約5.56億人民幣增至約11.35億人民幣,增幅約104%。
TCL空調器(中山)有限公司成立于2000年11月,法定代表人為陳紹林,經營范圍包括生產經營變頻、模糊、智能分體式空調器、移動式空調、調濕裝置和靜音窗式空調器及其零配件等。股東信息顯示,該公司現由TCL家電集團有限公司及上述新增股東共同持股。



天眼查工商信息顯示,近日,TCL空調器(中山)有限公司發生工商變更,新增廣東TCL空調器控股有限公司為股東,同時,注冊資本由約5.56億人民幣增至約11.35億人民幣,增幅約104%。
TCL空調器(中山)有限公司成立于2000年11月,法定代表人為陳紹林,經營范圍包括生產經營變頻、模糊、智能分體式空調器、移動式空調、調濕裝置和靜音窗式空調器及其零配件等。股東信息顯示,該公司現由TCL家電集團有限公司及上述新增股東共同持股。


